根据 纽佰德数据 监测,2025年上半年,印度在 HS编码 29420090 所属的 ACTIVE PHARMACEUTICAL INGREDIENT(药用活性成分,简称API)出口稳中增长,总出口额达 6,626,099.67 美元,出口量 61,744 件。API是全球制药工业的重要基础原料,印度在该领域的竞争力已持续多年,并逐渐成为全球主要的原料药供应国之一。
抽样数据显示,印度出口的主要药用活性成分包括 Tramadol Hydrochloride(曲马多盐酸盐)、Diphenhydramine Hydrochloride(苯海拉明盐酸盐)、Bisoprolol Fumarate(比索洛尔富马酸盐)、Sevelamer Carbonate、Modafinil 以及 Quetiapine Fumarate 等。这些原料广泛应用于镇痛、抗抑郁、抗过敏及心血管疾病药物制造领域,反映出印度制药行业在中高端仿制药及精神类药物原料领域的国际竞争力。
2025年上半年,印度API出口在季度间呈现明显波动。3月出口额最高,达 1,793,118.60 美元,4月至6月略有回落,但仍保持稳定。

出口数据表明,第一季度仍是印度API出口的集中期。全球主要药企会在这一阶段提前备货,以应对全年生产需求。
2025年上半年共有 18 家出口商 与 52 家进口商 参与API出口交易,覆盖 54 个国家。出口格局集中,头部企业占据主要市场份额。
领先企业包括:
PHARMAFFILIATES ANALYTICS AND SYNTHETICS PRIVATE LTD:主要出口实验用和药品研发用有机化合物,出口总额约 303.6 万美元,出口国家覆盖 土耳其、美国、中国香港、以色列 等 20 余个国家,是印度API出口龙头。
MOREPEN LABORATORIES LIMITED:以 Tramadol 及镇痛类API为主,出口额 4,276.6 万美元,市场分布在美国、哥伦比亚及埃及。
SOLARA ACTIVE PHARMA SCIENCES LIMITED:出口额 3,733.4 万美元,主要产品为抗菌、抗炎原料药。
R L FINE CHEM PRIVATE LIMITED:出口额 1,707.3 万美元,主要销往欧洲及中东市场。
UMEDICA LABORATORIES PVT. LTD.:出口额 1,346.7 万美元,专注麻醉类与神经药物原料。
这些企业均具备国际药监机构(FDA、EMA、TGA)认证资质,可向欧美市场供应符合GMP标准的高质量原料药。
以 PHARMAFFILIATES ANALYTICS AND SYNTHETICS PRIVATE LTD 为例,该公司在2025年上半年出口主要集中于以下国家和地区:

这些出口样本显示,印度API出口不仅面向欧美发达国家,也已拓展至中东、东南亚及非洲新兴市场。
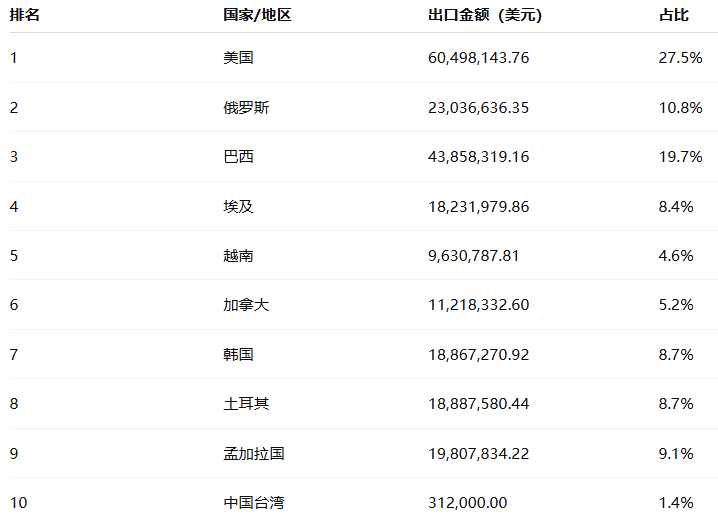
根据纽佰德数据的统计,2025年上半年印度API出口目的地排名如下:

其中,美国仍为印度API出口的最大市场,占比超过四分之一;巴西、俄罗斯和埃及分列二至四位。
从地区看,欧美国家进口高附加值原料药,而东南亚与中东市场则集中于中低端API产品。
印度API出口以镇痛、心血管及精神类药物原料为主。

这些产品充分体现出印度制药业“高性价比+合规体系”的国际竞争模式。
印度政府在“Pharma Vision 2030”战略框架下,持续推动高端原料药本地化和国际化布局。随着全球医药供应链重塑,欧美市场对具有质量认证的API需求增加,印度API行业有望进一步受益。
未来,出口结构将从数量型向价值型转变,重点聚焦高纯度、复杂分子结构及创新药原料。预计2025年下半年,印度API出口将保持温和增长,欧美仍是主导市场,而东南亚及非洲市场将继续扩大份额。
本文基于 纽佰德数据 (NBD DATA)全球贸易数据库编制,如需获取完整企业名录与交易明细,请访问 纽佰德数据服务页面。
Copyright @2014 - 2026 纽佰德数据 版权所有
津公网安备12010102001282
津ICP备2020008632号-1
违法和不良信息举报电话:022-85190888 | 举报邮箱:service@nbd.ltd | 举报平台